Лебедка ручная настенная PFAFF SW-W SGO с червячной передачей 1000 кг (без каната)
Стоимость уточняйте у менеджера или по телефону +7(495)542-40-78
Цена на лебёдку без каната. Канаты и крюки по запросу.
Настенная ручная барабанная лебедка SW W-SGO 1000 с червячной передачей, имеющая ручной привод и дополнительный грузоупорный тормоз для подъёма и опускания Ваших грузов просто закрепляется на стене и развивает тяговое усилие до 1000 кг. Корпус лебедки и тросовый барабан выполнены из прочной стали.
Основные преимущества
-
Долговечность - Корпус лебёдки и тросовый барабан выполнены из прочной листовой стали.
-
Повышенная безопасность при работе с грузом - Червячная передача имеет дополнительный грузоупорный тормоз.
-
Минимальный износ и легкость хода -Шариковые подшипники обеспечивают плавность хода и повышают эксплутационный срок лебедки.
-
Повышенная скорость при подъеме легких грузов
-
Легкость монтажа - Легкий и быстрый монтаж лебедки на стене.
Рекомендованный канат: DIN 3060 FE-znk 1770 sZ-spa
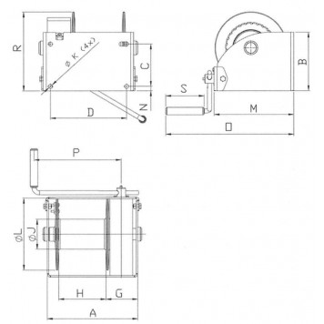
Размеры
| Модель | SGO 250 | SGO 500 | SGO 1000 | SGO 1500 | SGO 2000 | SGO 3000 | SGO 5000 |
|---|---|---|---|---|---|---|---|
| A, мм | 238 | 269 | 302 | 302 | 410 | 436 | 436 |
| B, мм | 145 | 160 | 195 | 250 | 310 | 365 | 460 |
| C, мм | 100 | 115 | 141 | 178 | 196 | 251 | 316 |
| D, мм | 192 | 223 | 254 | 254 | 360 | 386 | 386 |
| G, мм | 106 | 107 | 110 | 111 | 137 | 137 | 137 |
| H, мм | 102 | 131 | 160 | 160 | 176 | 204 | 200 |
| Ø J, мм | 48 | 70 | 102 | 102 | 133 | 165 | 219 |
| Ø K, мм | 14 | 14 | 17 | 17 | 25 | 25 | 25 |
| Ø L, мм | 160 | 190 | 240 | 240 | 312 | 376 | 437 |
| M, мм | 191 | 221 | 266 | 278 | 383 | 443 | 495 |
| N, мм | 15 | 15 | 15 | 15 | 45 | 47 | 60 |
| O, мм | 354 | 384 | 429 | 441 | - | - | - |
| P, мм | 280 | 325 | 350 | 350 | 380 | 380 | 380 |
| R, мм | 171 | 192 | 264 | 306 | 420 | 527 | 604 |
| S, мм | 130 | 130 | 130 | 130 | 220 | 220 | 220 |
Мы охотно ответим на все ваши вопросы по телефону: +7 (495) 542-40-78 или по электронной почте: info@pfaff-silberblau.ru
