Таль рычажная взрывобезопасная для шахт Pul-lift C85 750 ATEX
Стоимость уточняйте у менеджера или по телефону +7(495)542-40-78
Pul-lift C85 — Серия моделей с роликовой цепью, грузоподъёмность 750-3000 кг
Pul-lift D85 — Серия моделей с круглозвенной цепью, грузоподъёмность 750-10000 кг
Тали Pul-lift – это одна из самых первых моделей рычажных талей марки Yale, и производится с 1936 года с небольшими изменениями и усовершенствованиями. За это время было продано более 1 миллиона экземпляров.
Теперь рычажная таль D85 получила подтверждение безопасности при работе в шахтах и их надземных сооружениях, опасных по рудничному газу и горючей пыли. Тали Pul-lift как с роликовой, так и с круглозвенной цепью выпускаются во взрывобезопасном исполнении для шахт по умолчанию. На них получен сертификат ТР ТС 012/2011 для взрывозащищённого оборудования.
Универсальность рычажных талей предоставляет практически неограниченные области применения в горнопромышленной отрасли, сталелитейном производстве, судостроительстве и при вспомогательных работах для установки тяжелых станков, закрепления тяжелых грузов, укладки труб. Взрывозащита расширяет эти применения также на шахтные выработки, пожароопасные зоны вблизи шахт, где вероятно образование смеси природного газа с воздухом во взрывоопасной концентрации или скопления горючей пыли.
Классификация ATEX Mining: I Mb c
Особенности
-
Крепкая конструкция
Закрытый корпус. Рычаг и блок крюка выполнены из термообработанной стали с высокими упругими свойствами для общей прочности конструкции.
-
Плавный ход цепи
Цепной шкив сделан из термообработанной хромомолибденовой стали.
Плавный ход цепи достигается точной механической обработкой деталей редуктора. Благодаря высокой точности изготовления карманов цепного шкива, цепь прослужит дольше -
Надежная цепь
Цепи — как роликовая, так и круглозвенная — выполнены в соответствии с международными стандартами и нормами.
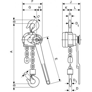
Размеры
| Модель | Pul-lift C85 750 ATEX | Pul-lift C85 1500 ATEX | Pul-lift C85 3000 ATEX | Pul-lift D85 750 ATEX | Pul-lift D85 1500 ATEX | Pul-lift D85 3000 ATEX | Pul-lift D85 6000 ATEX | Pul-lift D85 10000 ATEX |
|---|---|---|---|---|---|---|---|---|
| A,мм | 322 | 389 | 403 | 322 | 389 | 403 | 532 | 805 |
| B,мм | 21 | 27 | 35 | 21 | 27 | 35 | 48 | 61 |
| C,мм | 27 | 30 | 34 | 27 | 30 | 34 | 46 | 54 |
| D,мм | 15 | 20 | 25 | 15 | 20 | 25 | 40 | 40 |
| D1,мм | 17 | 23 | 25 | 17 | 23 | 25 | 40 | 45 |
| E,мм | 443 | 443 | 570 | 443 | 443 | 570 | 570 | 570 |
| F,мм | 112 | 189 | 197 | 112 | 189 | 197 | 197 | 305 |
| G,мм | 56 | 134 | 142 | 56 | 134 | 142 | 142 | 163 |
| H,мм | 56 | 55 | 55 | 56 | 55 | 55 | 55 | 142 |
| J,мм | 142 | 171 | 179 | 142 | 171 | 179 | 218 | 218 |
| K,мм | 39 | 72 | 76 | 39 | 72 | 76 | 76 | 76 |
| L,мм | 103 | 99 | 103 | 103 | 99 | 103 | 142 | 142 |
Мы охотно ответим на все ваши вопросы по телефону: +7 (495) 542-40-78 или по электронной почте: info@pfaff-silberblau.ru
