Захват "мягкий" Tigrip TBP
Стоимость уточняйте у менеджера или по телефону +7(495)542-40-78
Внимание! На сайте указана цена модели TBP 0,5 грузоподъемностью 500 кг.
Стоимость захватов с другой грузоподъемностью можно узнать у наших менеджеров.
Захват TBP подходит для всех видов грузовых работ с металлическими листами, и при этом ему не страшно доверить даже груз с очень чувствительной поверхностью, которую другие захваты могут повредить.
Захват модели TBP подходит для подъема, поворота и перемещения плоского груза с чувствительной поверхностью без нанесения ей каких каких-либо повреждений (углубления и тп.).
Этот "мягкий" захват может использоваться на поверхностях из алюминия и нержавеющей стали, а также на особо твердых поверхностях.
Параметры моделей
| Модель | Грузоподъем-ность (кг) | Зев, Z (мм) | Собств. масса (кг) | Артикул |
|---|---|---|---|---|
| TBP 0.5 | 500 | 0 — 10 | 3,0 | N51502419 |
| TBP 1.5 | 1500 | 0 — 20 | 12,6 | N51502420 |
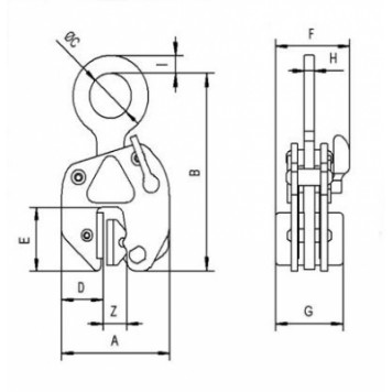
Размеры
| Модель | TBP 0.5 | TBP 1.5 |
|---|---|---|
| A,мм | 127 | 215 |
| B,мм | 200 | 345 |
| D,мм | 52 | 75 |
| E,мм | 69 | 135 |
| F,мм | 87 | 131 |
| G,мм | 76 | 118 |
| H,мм | 13 | 20 |
| I,мм | 20 | 24 |
| Ø C,мм | 55 | 85 |
Мы охотно ответим на все ваши вопросы по телефону: (495) 542-40-78 или по электронной почте: info@pfaff-silberblau.ru

